2022届新高考物理模拟试卷(广东卷)



单选题 (共 7 题 ),每题只有一个选项正确
下列叙述正确的是
$\text{A.}$ 若铀235的体积超过它的临界体积, 裂变的链式反应就能够发生 $\text{B.}$ 根据玻尔理论, 在氢原子中, 电子吸收光子从低能级跃迁到高能级, 电子 的能量变大, 动能也变大 $\text{C.}$ 只要入射光的强度足够强, 照射时间足够长, 就一定能产生光电效应 $\text{D.}$ 核反应的实质是粒子对核撞击而打出新粒子使核变为新核

氢原子的能级示意图如图所示, 现有大量的氢原子处于 $n=4$ 的激发态, 当向低 能级跃迁时, 会辐射出若干种不同频率的光, 若用这些光照射逸出功为 4.5
$e V$ 的钨时,下列说法中正确的是
$\text{A.}$ 氢原子能辐射 4 种不同频率的光子 $\text{B.}$ 氢原子辐射的光子都能使钮发生光电效应 $\text{C.}$ 氢原子辐射一个光子后, 氢原子的核外电子的速率增大 $\text{D.}$ 钨能吸收两个从 $n=4$ 向 $n=2$ 能级跃迁的光子而发生光电效应

如图所示, 斜面 $A C$ 与水平方向的夹角为 $\alpha$, 在底端 $A$ 正上方与顶端等高处的 $E$ 点以速度 $v_0$ 水平抛出一小球, 小球垂直于斜面落到 $D$ 点, 重力加速度为 $g$, 则
$\text{A.}$ 小球在空中飞行时间为 $\frac{v 0}{g}$ $\text{B.}$ 小球落到斜面上时的速度大小为 $\frac{v 0}{\cos \alpha}$ $\text{C.}$ 小球的位移方向垂直于 $A C$ $\text{D.}$ $C D$ 与 $D A$ 的比值为 $\frac{1}{2 \tan 2 \alpha}$

如图所示, 在天花板下用细线悬挂一半径为 $R$ 的金属圆环, 圆环处于静止状态, 圆环一部分处在垂直于环面的磁感应强度大小为 $B$ 的水平匀强磁场中, 环与磁场 边界交点 $A 、 B$ 与圆心 $O$ 连线的夹角为 $120^{\circ}$, 此时悬线的拉力为 $F$. 若圆环通电, 使 悬线的拉力刚好为零, 则环中电流大小和方向是
$\text{A.}$ 大小为 $\frac{\sqrt{3} F}{3 B R}$, 沿顺时针方向 $\text{B.}$ 大小为 $\frac{\sqrt{3} F}{3 B R}$, 沿逆时针方向 $\text{C.}$ 大小为 $\frac{\sqrt{3} F}{B R}$, 沿顺时针方向 $\text{D.}$ 大小为 $\frac{\sqrt{3} F}{B R}$, 沿逆时针方向

如图所示, 足够长的宽度为 $d$ 的条形区域内存在垂直纸面向里的匀强磁场, 直角三角形金属线框 $A B C$ 的 $B C$ 边长度为 $L$, 已知 $L>d$. 现令线框在外力作用下以速 度 $v_0$ 匀速穿过磁场区域, 以 $B$ 点进入磁场的时刻为计时起点, 规定线框中电流沿 逆时针方向为正方向, 则在线框穿过磁场的过䅣中, 线框中的电流i随时间 $t$ 的变 化情况可能是
$\text{A.}$ $\text{B.}$ $\text{C.}$ $\text{D.}$

总质量为 $m$ 的汽车在平直公路上以速度 $v_0$ 匀速行驶时, 发 动机的功率为 $P$. 司机为合理进入限速区, 减小了油门, 使汽车 功率立即减小到 $\frac{2}{3}P$ 并保持该功率继续行驶, 设汽车行驶过程中所受阻力大小
不变. 从司机减小油门开始, 汽车的 $v-t$ 图象如图, 从汽车开始减速到再次达到匀 速运动的过程中, 行驶的位移为 $s$, 汽车因油耗而改变的质量可忽略. 则在该过程 中, 下列说法不正确的是
$\text{A.}$ 汽车再次匀速运动时速度大小为 $\frac{2 v 0}{3}$ $\text{B.}$ $t=0$ 时刻, 汽车的加速度大小为 $\frac{P}{3 m v 0}$ $\text{C.}$ 汽车的牵引力不断减小 $\text{D.}$ 经历的时间为 $\frac{3 s}{2 v 0}$

如图所示, 质量为 $M=3$ $\mathrm{kg}$ 的足够长的木板放在光滑水平地面上, 质量为 $m=1$ $\mathrm{kg}$ 的物块放在木板上, 物块与木板之间有摩擦, 两者都以大小为 4 $\mathrm{m} / \mathrm{s}$ 的初速度向相反方向运动. 当木板的速度为 $3 \mathrm{~m} / \mathrm{s}$ 时, 物块处于
$\text{A.}$ 匀速运动阶段 $\text{B.}$ 减速运动阶段 $\text{C.}$ 加速运动阶段 $\text{D.}$ 速度为零的时刻

多选题 (共 3 题 ),每题有多个选项正确
水平放置足够长的光滑平行导轨, 电阻不计, 间距为 $\boldsymbol{L}$, 左端连接的电源电动. 势为 $E$, 内阻为 $r$, 质量为 $m$ 的金属杆垂直静放在导轨上, 金属杆处于导轨间的剖 分电阻为 $R$. 整个装置处在磁感应强度大小为 $B$ 、方向竖直向下的匀强磁场中, 闭 合开关, 金属杆沿导轨做变加速运动直至达到最大速度, 则下列说法正确的是
$\text{A.}$ 金属杆的最大速度大小为 $\frac{E}{B L}$ $\text{B.}$ 此过程中通过金属杆的电荷量为 $\frac{m E}{2 B 2 L 2}$ $\text{C.}$ 此过程中电源提供的电能为 $\frac{m E 2}{B 2 L 2}$ $\text{D.}$ 此过程中金属杆产生的热量为 $\frac{m E 2}{2 B 2 L 2}$

一根轻弹簧, 下端固定在水平地面上, 一个质量为 $m$ 的小球(可视为质点), 从距 弹簧上端 $h$ 处自由下落并压缩弹簧, 如图所示. 若以小球下落点为 $x$ 轴正方向起点 , 设小球从开始下落到压缩弹簧至最大时位置为 $\boldsymbol{H}$, 不计任何阻力, 弹簧均处于 弹性限度内; 小球下落过程中加速度 $a$, 速度 $v$, 弹簧的弹力 $F$, 弹性势能 $E_{\mathrm{p}}$ 变化的 图象可能正确的是
$\text{A.}$ $\text{B.}$ $\text{C.}$ $\text{D.}$

嫦娥工程分为三期,简称“绕、落、回”三步走. 我国发射的“嫦娥三号”卫星是 嫦娥工程第二阶段的登月探测器, 该卫星先在距月球表面高度为 $h$ 的轨道上绕月 球做周期为 $T$ 的匀速圆周运动, 再经变轨后成功落月. 已知月球的半径为 $R$, 引力 常量为 $G$, 忽略月球自转及地球对卫星的影响. 则以下说法正确的是
$\text{A.}$ 物体在月球表面自由下落的加速度大小为 $\frac{4 \pi 2(R+h) 3}{T 2 R 2}$ $\text{B.}$ “嫦娥三号”绕月球做匀速圆周运动时的线速度大小为 $\frac{2 \pi R}{T}$ $\text{C.}$ 月球的平均密度为 $\frac{3 \pi(R+h) 3}{G T 2 R 3}$ $\text{D.}$ 在月球上发射月球卫星的最小发射速度为 $\frac{2 \pi R}{T} \sqrt{\frac{R+h}{R}}$

填空题 (共 2 题 ),请把答案直接填写在答题纸上
某同学在做“验证力的平行四边形定则”实验时, 将橡皮筋改为劲度系数为 400 $\mathrm{N} / \mathrm{m}$ 的轻质弹簧 $A A^{\prime}$, 将弹簧的一端 $A^{\prime}$ 固定在坚直墙面上. 不可伸长的细线 $O A 、 O$ $B 、 O C$, 分别固定在弹簧的 $A$ 端和弹簧秤甲、乙的挂钩上, 其中 $O$ 为 $O A 、 O B 、 O C$ 三段细线的结点, 如图1所示. 在实验过程中, 保持弹簧 $A A^{\prime}$ 伸长 $1.00 \mathrm{~cm}$ 不变

(1) 若 $O A 、 O C$ 间夹角为 $90^{\circ}$ ,弹簧秤乙的读数是 (  ) $\mathbf{N}$ (如图2所示), 则弹 簧秤甲的读数应为 (  ) N.
(2)在(1) 问中若保持 $O A$ 与 $O B$ 的夹角不变, 逐渐增大 $O A$ 与 $O C$ 的夹角, 则弹簧 秤甲的读数大小将 (  ) ,弹簧秤乙的读数大小将 (  )

12. LED绿色照明技术已经走进我们的生活. 某实验小组要精确测定额定电压为 $5 V$ 的LED灯泡正常工作时的电阻, 已知该灯泡正常工作时电阻大约为 500 $\Omega$, 其电学符号与小灯泡电学符号相同. 实验室提供的器材有 (  )
A. 电流表 $\mathrm{A}_1$ (量程为 $60 \mathrm{~mA}$, 内阻 $R_{\mathrm{A} 1}$ 约为 $1 \Omega$, 读数记为 $\left.I_1\right)$
B. 电流表 $\mathrm{A}_2$ (量程为 $3 \mathrm{~mA}$, 内阻 $R_{\mathrm{A} 2}=20 \Omega$, 读数记为 $\left.I_2\right)$
C. 电压表 $V\left(\right.$ 量程 $0 \sim 15 \mathrm{~V}$, 内阻 $R_{\mathrm{V}}=1 \mathrm{k} \Omega$, 读数记为 $\left.U\right)$
D. 定值电阻 $R_1=980 \Omega$
E. 定值电阻 $R_2=1980 \Omega$
F. 滑动变阻器 $R(0 \sim 20 \Omega)$
G. 蓄电池 $E$ (电动势为 $24 \mathrm{~V}$, 内阻很小)
H. 开关S, 导线若干
(1)部分电路原理图如图所示, 请选择合适的器材, 电表1为 (  ) ,电表 2 为 (  ) ,定值电阻为 (  ) (填写器材前的字母编号)

(2)将电路图补充完整 (  )
(3)写出测量LED灯正常工作时的电阻表达式 $R_x=$ (  ) (用已知量和测量 量表示), 调节滑动变阻器滑片的位置, 当表达式中的 (  ) (填字母)达到 (  ) ,记下另一电表的读数代入表达式, 其结果即为LED灯正常工作时的电阻.

解答题 (共 6 题 ),解答过程应写出必要的文字说明、证明过程或演算步骤
如图所示, 间距为 $d$ 的平行金属板 $M N$ 与一对光滑的平行导轨相连, 平行导轨间距为 $L$. 一根导体棒 $a b$ 与导轨垂直且以速度 $v_0$ 沿导轨向右匀速运动, 棒的右側存在一个垂直纸面向里, 大小为 $B$ 的匀强磁场. 当棒进入磁场时, 粒子源 $P$ 释放一个初速度为零的带负电的粒子, 已知带电粒子的质量为 $m$ (重力不计), 电量为 $q$.粒子经电场加速后从 $M$ 板上的小孔 $O$ 穿出. 在板的上方, 有一个环形区域内存在垂直纸面向外的匀强磁场. 已知外圆半怪为 $2 d$, 内圆半径为 $d$, 两圆的圆心与小孔重合 ,
求:

(1)粒子到达 $M$ 板的速度大小 $v$;
(2)若粒子不能从外圆边界飞出, 则环形区域内磁感应强度最小为多少?

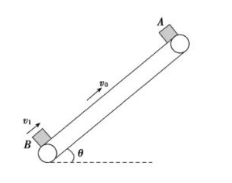
如图所示, 与水平面夹角 $\theta=37^{\circ}$ 的倾斜传送带以 $v_0=2$
$\mathrm{m} / \mathrm{s}$ 的速度沿顺时针方向转动, 小物块 $A$ 从传送带顶端无初速度释放的同时, 小物 块 $B$ 以 $v_1=8 \mathrm{~m} / \mathrm{s}$ 的速度从底端滑上传送带. 已知小物块 $A 、 B$ 质量均为 $m=1$
$\mathrm{kg}$, 与传送带间的动摩擦因数均为 $\mu=0.5$, 小物块 $A 、 B$ 末在传送带上发生碰撞, 重力加速度 $g$ 取 $10 \mathrm{~m} / \mathrm{s}^2, \sin 37^{\circ}=0.6, \cos 37^{\circ}=0.8$. 求:
(1)小物块 $B$ 向上运动过程中平均速度的大小:
(2)传送带的长度 $l$ 应满足的条件.

下列说法正确的是 (  ) (填正确答案标号. 选对 1 个得 2 分, 选 对 2 个得 4 分, 选对 3 个得 5 分. 每选错 1 个扣 3 分, 最低得分为 0 分)

A. 当分子力表现为斥力时, 分子力和分子势能总是随分子间距离的减小而 增大
B. 液晶像液体一样具有流动性, 其光学性质与某些多晶体相似, 具有各向 同性的光学性质
C. 第二类永动机不违反能量守恒定律, 但违反了热力学第二定律
D. 分子平均速率大的物体的温度比分子平均速率小的物体的温度高
E. 晶体熔化时吸收热量, 其分子平均动能不变

如图所示, 直立的汽缸中有一定质量的理想气体, 活 塞的质量为 $m$, 横截面积为 $S$, 汽缸内壁光滑且缸壁导热良好, 周围 环境温度保持不变. 开始时活塞恰好静止在 $A$ 处, 现轻放一物体在 活塞上, 活塞下移. 经过足够长时间后, 活塞系统停在 $B$ 点, 已知 $A$ $B=h, B$ 处到汽缸底部的距离为 $h$, 大气压强为 $p_0$, 重力加速度为 $g$. 求:
(1)物体将活塞压至 $B$ 处平衡时, 缸内气体的压强 $p_2$; 整个过程中, 缸内气体是 吸热还是放热, 简要说明理由;
(2)已知初始温度为 27${ }^{\circ} \mathrm{C}$, 若升高环境温度至 $T_1$, 活塞返回 $A$ 处达稳定状态, $T_1$ 的值是多大.

一列简谐横波沿 $x$ 轴正方向传播, $t=0$ 时刻的波形如图所示, 介质中 质点 $A, B 、 C$ 分别位于 $x_1=2 \mathrm{~m} 、 x_2=3 \mathrm{~m} 、 x_3=6 \mathrm{~m}$ 处. 当 $t=9$
$s$ 时质点 $A$ 刚好第 3 次到达波峰. 下列说法正确的是 . (填正确答案标号. 选对 1 个得 2 分, 选对 2 个得 4 分, 选对 3 个得 5 分. 毎选错 1 个扣 3 分, 最低得分为 0 分)

A. 该波的波速一定为 $1 \mathrm{~m} / \mathrm{s}$
B. 如果该波在传播过程中与频率为 $0.5 \mathrm{~Hz}$ 的横波相遇, 一定发生干涉现象
C. 质点 $C$ 起振方向沿 $y$ 轴负向
D. 如果质点 $C$ 到达波峰, 则质点 $B$-定在平衡位置
E. 质点 $A$ 的振动方程可表示为 $y=\sin (0.25 \pi t) \mathrm{m}$

如图所示, 透明的柱形元件的横截面是半怪为 $R$ 的 $\frac{1}{4}$
圆弧, 圆心为 $O$, 以 $O$ 为原点建立直角坐标系 $x O y$.一束单色光平行于 $x$ 轴射入该元 件, 入射点的坐标为 $(0, d)$, 单色光对此元件的折射率为 $n=\frac{2 \sqrt{3}}{3}$.

(1)当d多大时, 该单色光在圆弧面上恰好发生全反射?
(2)当 $d \rightarrow 0$ 时,求该单色光照射到 $x$ 轴上的位置到圆心 $O$ 的距离. (不考虑单色 光经圆弧面反射后的情况. $\theta$ 很小时, $\sin \theta \approx \theta$ )

非会员每天可以查看15道试题。 开通会员,海量试题无限制查看。

  • 无限看试题

  • 下载试题

  • 组卷
开通会员

热点推荐

试卷二维码

分享此二维码到群,让更多朋友参与

试卷白板

试卷白板提供了一个简单的触摸书写板,可供老师上课、或者视频直播时, 直接利用白板给学生讲解试题,如有意见,欢迎反馈。